

products
BOV VALVE can provide valve selection according to customer's different working conditions.






V TYPE BALL VALVE ( SEGMENTED BALL VALVE)
V-Ball and V-Port ball valves are an ideal solution to control flow through a pipe. V-Ball valves are a great solution to modulate flow and can be actuated. This series of V-Balls are made from 316 stainless steel and are configurable in almost any industry. These valves are both lighter in weigh and more durable than standard valves sold overseas.
V-SEAT, V-SLOTTED, V-BALL CHARACTERIZED SEAT CONTROL VALVES
popular-badgeWe have a complete line of V-Port Ball Valves, V-Ball, V-seat and slotted seat control valves providing precision throttling control for a wide range of applications. As with our standard ball valves, V-characterized seated valves offer equal percentage flow characteristics. The slotted seated valves have an inherent linear flow characteristic.
Applicable for the fluid containing fibers,the high-viscosity fluid containing solid particles,the special fluid control and flow regulating,it can also be used as the isolating valve for its reliable sealing.It is widely employed in chemical industry,paper-making,petroleum,electric power,etc.It has excellent performance.
1. Preeminent performance of adjustment control
The ball is of "V"pattern.At any position from full open to full close,it always keeps the standard geometry.The large adjustable extent is from 100:1 to 200:1,the CV curve of discharge characteristic is similar to the percentage curve,which may realize the precise control of the flow.
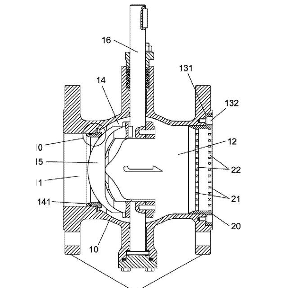
2. One piece body
One piece integral body,the strength is high,stress deformation resistance is strong,has no central flange,confinement reliability is improved,has no bending transition at the flow passage,not accumulate,not block,has little influence upon the fluid.
3. eliable seat sealing
The sealing surface build-up welding is handled by hard facing and employ the advanced seat grinding technology and griding ball technology to make V type ball valve have reliable sealing performance which can achieve the V sealing grade of ANSI B16.104 specified.The special requirement can achieve VI grade.
4. Ball
The ball hard surface handled by STL,tungsten,etc.Both the two ends are V pattern,which is easy to precise control for flow also can realize the shearing action for the fluid containing cellulosic,the high-viscosity fluid containing solid particles when shutting.
5. Sealing packing
The stem adopts the adjustable jam type packing of V type PTFE or RPPL.Ensure that has reliable sealing and no outleakage under the middle and high temperture.
6. Drive&Positioner
V TYPE BALL VALVE complement using driver adopts the adjustable manual exerciser,pneumatic driver(with positioner) and adjustable electric driver.